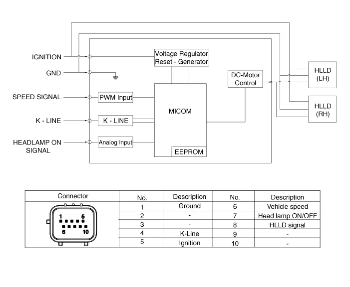
| Circuit Diagram |

Component Location 1. Head lamp leveling unit and sensor2. Head lamp leveling actuator
Description According to driving environment and loading state of vehicle, head lamp lighting direction is changed to keep the driver''s visibility range and to protect the driver''s vision from glare, aiming at safety driving.
Description Back view camera will activate when the backup light is ON with the ignition switch ON and the shift lever in the R position. This system is a supplemental system that shows behind the vehicle through the ECM (Reverse Display Room Mirror) mirror or AVN head unit while backing-up.
Instructions When Handling Refrigerant 1. R-134a liquid refrigerant is highly volatile. A drop on the skin of your hand could result in localized frostbite. When handling the refrigerant, be sure to wear gloves. 2. It is standard practice to wear goggles or glasses to protect your eyes, and gloves to protect your hands.