| Description |
| – |
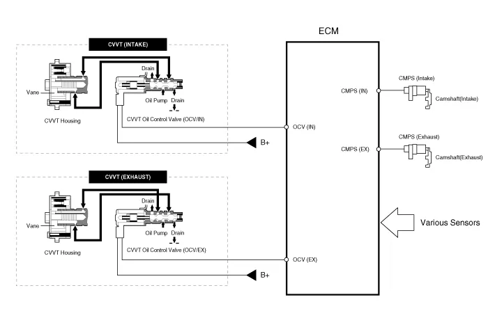
the CVVT Oil Control Valve (OCV) which supplies the engine
oil to the cam phaser or runs out the engine oil from the cam phaser in
accordance with the ECM PWM (Pulse With Modulation) control signal, |
| – |
the CVVT Oil Temperature Sensor (OTS) which measures the engine oil temperature, |
| – |
and the Cam Phaser which varies the cam phase by using the hydraulic force of the engine oil. |

| Operation Principle |

| [CVVT System Mode] |

| (1) Low Speed / Low Load | (2) Part Load |
|
|
| (3) Low Speed / High Load | (4) High Speed / High Load |
|
|
| Driving Condition | Exhaust Valve | Intake Valve | ||
| Valve Timing | Effect | Valve Timing | Effect | |
| (1) Low Speed /Low Load | Completely Advance | * Valve Under-lap * Improvement of combustion stability | Completely Retard | * Valve Under-lap * Improvement of combustion stability |
| (2) Part Load | Retard | * Increase of expansion work * Reduction of pumping loss * Reduction of HC | Retard | * Reduction of pumping loss |
| (3) Low Speed /High Load | Retard | * Increase of expansion work | Advance | * Prevention of intake back flow (Improvement of volumetric efficiency) |
| (4) High Speed /High Load | Advance | * Reduction of pumping loss | Retard | * Improvement of volumetric efficiency |
Removal [Catalytic Converter (WCC)] 1. Remove the exhaust manifold. (Refer to Engine Mechanical System - "Exhaust Manifold") [Catalytic Converter (UCC)] 1.
Description AFLS Unit(ECU) AFLS located in Cockpit Module is provided information of vehicle (steering wheel signal,vehicle speed, inclination of vehicle). Based on provided information , it calculates algorithm and adjust Low beam of H/Lamp. It transmits driving information by using LIN protocol, it is operated in Fail-safe reaction mode
Inspection 1. Ignition "OFF". 2. Disconnect evaporator temperature sensor. 3. Using the multi-tester, Measure resistance between terminal "1" and "2" of evaporator temperature sensor. Specification Evaporator coretemperature [°C(°F)]Resistance[KΩ]Voltage[V]-20(-4)70.