Kia Cadenza YG: Engine Mechanical System / Special Service Tools

Special Service Tools
Tool (Number and name)
Illustration
Use
Crankshaft front oil seal installer
(09231-3C100)

Installation of the front oil seal
Ring gear stopper
(09231-2B100)

Removal and installation of crankshaft pulley bolt
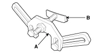
Ring gear stopper
A : (09231-3D100)
B : (09231-2W100)

Removal and installation of crankshaft pulley bolt.
Torque angle adapter
(09221-4A000)

Installation of bolts & nuts needing an angular method
Valve stem seal remover
(09222-29000)

Removal of the valve stem seal
Valve stem seal installer
(09222-2W100)

Installation of the valve stem seal
Valve spring compressor & holder
(09222-3K000)
(09222-3K100)

Removal and installation of the intake or exhaust valves
A : 09222-3K000
B : 09222-3K100 (holder)
Crankshaft rear oil seal installer
(09231-3C200)
(09231-H1100)

Installation of the crankshaft rear oil seal
A : 09231-3C200
B : 09231-H1100
Oil pan remover
(09215-3C000)

Removal of oil pan

    Specifications DescriptionSpecificationsLimitGeneralTypeV-type, DOHCNumber of cylinders6Bore92mm(3.6220in.)Stroke83.8mm(3.2992in.)Total displacement3,342cc(203.

    Compression Pressure Inspection     If the there is lack of power, excessive oil consumption or poor fuel economy, measure the compression pressure.

    Other information:

    Kia Cadenza YG 2016-2021 Service Manual: Repair procedures

    Inspection Initialization and diagnosis sequence by using diagnostic equipment Below content summarize the procedure for A/S using Diagnostic equipment Download Parameter 1. Select "AFLS" menu after selecting a vehicle. 2. Select "Parameter download" menu for define a characteristc of vehicle.

    Kia Cadenza YG 2016-2021 Service Manual: Repair procedures

    Teaching Procedures 1. Key Teaching Procedure Key teaching must be done after replacing a defective PCM(ECM) or when providing additional keys to the vehicle owner. The procedure starts with an PCM(ECM) request for vehicle specific data (PIN code: 6digits) from the tester.

    Categories

     
    Copyright © 2026 www.kcadenzavg.com - 0.0235