Kia Cadenza YG: Lighting System / Trunk Lamps Repair procedures

Removal
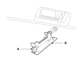
1.
Disconnect the negative (-) battery terminal.
2.
Remove the luggage room lamp (B) when prying the hole (A) with a flat-up screwdriver.

3.
Remove the luggage room lamp bulb in case of necessity.
Installation
1.
Install the luggage room lamp assembly after connecting the lamp connector.

    Removal Mood Lamp 1. Disconnect the negative (-) battery terminal. 2. Remove the front door trim. (Refer to Body - "Front Door") 3. Remove the connector and LED mood lamp (A).

    Troubleshooting 1. The lamp switch inputs can be checked using the GDS. 2. To check the input value of lamp switch, select option "IPM". 3. To consult the present input/output value of IPM, "Current DATA".

    Other information:

    Kia Cadenza YG 2016-2021 Service Manual: Repair procedures

    Inspection Tolerance Calibration Tolerance calibration compensates for the error margins of surround view video that occur due to the installation tolerance when the four cameras that comprise the SVM system are installed. You must carry out tolerance calibration if you do any of the following.

    Kia Cadenza YG 2016-2021 Service Manual: Auto defoging sensor Repair procedures

    Inspection 1. Press the OFF switch more then 4 times within 2 seconds while pressing the MODE switch. DisplayFail description00Normal23Auto defog sensor OPEN24Auto defog sensor SHORT43Defog door potentiometer OPEN/SHORT44Defog door potentiometer * Diagnostic procedure refer to DTC code.

    Categories

     
    Copyright © 2026 www.kcadenzavg.com - 0.0219