Kia Cadenza YG: Exterior / Panoramaroof Repair procedures

Replacements
Movable glass Replacement
1.
Open the movable glass fully.
2.
Remove the folding cover (A).

3.
After loosening the mounting screws, then remove the movable glass (A).
   
Do not damage the screws.

4.
Installation is the reverse of removal.
Motor Replacement
   
Confirm the position of guide whether it is closed or not when you remove the motor.
1.
Remove the roof trim.
(Refer to the BD group - "Roof Trim")
2.
After loosening the mounting screws, then remove the motor (A).

3.
Installation is the reverse of removal.
   
Make sure to initialize the motor.
Wind deflector Replacement
1.
Open the movable glass fully.
2.
Using a screwdriver or remover, remove the roof moulding (A).
   
Roof moulding is need to changed to new product surely.

3.
Remove the wind deflector mounting bracket (A).

4.
Remove the wind deflector bar (A).

5.
Installation is the reverse of removal.
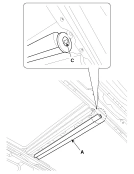
Roll Blind Replacement
[Removal]
1.
After loosening the mounting screws, then remove the roll blind lower bracket (A).

2.
Remove the roll blind (A) by pulling it at a right angle.
   
When you remove it, Be care theat an edge (C) is dashed against the frame df vehicle becaufe the roll blind hasthe tension.

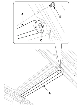
[Installation]
1.
Installation is the roll blind (A).
   
When you assewbly the roll blind bracket, Install the roll blind by pulling about 15~20cm (5.9055~7.8740 inch) because the screw (B) is dashed aginst the roll blind.
When the tension of roll blind is removed, Push an edge (C), Turn it counterclockwise 19~21, Install it by removing the push.

2.
Install the screws to the roll blind lower bracket (A).

Panoramaroof Assembly Replacement
[Removal]
1.
Remove the following items :
Front seat
(Refer to the BD group - "Front Seat")
Rear seat
(Refer to the BD group - "Rear Seat")
Interior trim
(Refer to the BD group - "Interior Trim")
Roof trim
(Refer to the BD group - "Roof Trim")
Rear glass
(Refer to the BD group - "Rear Window Glass")
Roof antenna
(Refer to the BE group - "AVN Head Unit")
2.
Loosen the panoramaroof mounting nuts (A).

Tightening torque :
19.6 ~ 29.4 N.m (2.0 ~ 3.0 kgf.m, 14.5 ~ 21.7lb-ft)

[Front]

[Rear]

3.
Using a screwdriver or remover, remove the roof moulding (A).
   
Roof moulding is need to changed to new product surely.

4.
Open the movable glass fully.
5.
Remove the wind deflector mounting bracket (A).

6.
Remove the wind deflector bar (A).

7.
Put tape on the front glass (A) to break it.
8.
Hold the corner of the front glass (A) using a pair of pliers (B) and then break it by applying force to the handles of the pliers.
   
Watch out for the broken glass fragments.

9.
Remove the broken front glass (A) from the vehicle.
   
Carefully and safely remove the broken glass fragments from the vehicle.

10.
Open the space between chassis and sunroof using flathead screwdriver, and then cut the sealant of front using a tool (09816-2P121, 09816-2P122) (A).
   
This blade has a inclination to push upward.(09816-2P121, 09816-2P122)
This blade has a inclination to push downward. (09816-2P123, 09816-2P124)

   
Be careful not to damage the panoramaroof when open the space between chassis and sunroof using flathead screwdriver.
11.
Open the space between chassis and sunroof using flathead screwdriver, and then cut the sealant of side using a tool (09816-2P121, 09816-2P122) (A).
   
This blade has a inclination to push upward.(09816-2P121, 09816-2P122)
This blade has a inclination to push downward. (09816-2P123, 09816-2P124)

   
Be careful not to damage the panoramaroof when open the space between chassis and sunroof using flathead screwdriver.
12.
Open the space between chassis and sunroof using flathead screwdriver, and then cut the sealant of rear using a tool (09816-2P127) (A).
   
Be careful of center hole (B) break.
Be careful of nut hole (C) break.

   
Be careful not to damage the panoramaroof when open the space between chassis and sunroof using flathead screwdriver.
13.
Cut the tape between the panoramaroof and the body. remove the panoramaroof (A).
   
Work over 4 mans together when fixing panoramaroof.

[Installation]
1.
With a knife, scrape the old adhesive smooth to a thickness of about 2mm (0.08 in.) on the bonding surface around the entire panoramaroof opening flange
   
Do not scrape down to the painted surface of the body; damaged paint will interfere with proper bonding.
Remove the rubber dam and fasteners from the body.
Mask off surrounding surfaces before painting.

2.
Clean the body bonding surface with a sponge dampened in alcohol. After cleaning, keep oil, grease and water from getting on the clean surface.

3.
Remove left glasses parts of panoramaroof panel (A) by using a cutter knife (B).

4.
With a sponge, apply a light coat of body primer to the original adhesive remaining around the windshield opening flange. Let the body primer dry for at least 10 minutes :
   
Do not apply glass primer to the body, and be careful not to mixup glass and body primer sponges.
Never touch the primed surfaces with your hands.
Mask off surrounding surfaces before painting.

5.
Apply a light coat of glass primer to the outside of the fasteners.
   
Never touch the primed surface with your hand. If you do, the adhesive may not bond to the glass properly, causing a leak after the windshield glass is installed.
Do not apply body primer to the glass.
Keep water, dust, and abrasive materials away from the primer.

6.
Pack adhesive into the cartridge without air pockets to ensure continuous delivery. Put the cartridge in a caulking gun, and run a bead of sealant (B) around the edge of the panoramaroof (A) as shown. Apply the adhesive within 30 minutes after applying the glass primer. Make a slightly thicker bead at each corner.

7.
Fix the panoramaroof to center hall (A) of body, install carefully the panoramaroof to the body frame.
   
Work over 4 mans together when fixing panoramaroof.

8.
Check the Clearance and gap for each side after installing the panoramaroof.
Section
Clearance
Gap
Front edge
A-A
2±1 mm
7.5±1 mm
(0.0787±0.0394 in)
(0.2953±0.0394 in)
Rear edge
B-B
1.2±1 mm
5±1 mm
(0.0472±0.0394 in)
(0.1969±0.0394 in)
Side edge
C-C
0±1 mm
4.1±1 mm
(0±0.0394 in)
(0.1614±0.0394 in)

9.
Install the nuts (A) to the panormaroof.

Tightening torque :
19.6 ~ 29.4 N.m (2.0 ~ 3.0 kgf.m, 14.5 ~ 21.7lb-ft)

[Front]

[Rear]

10.
Open the movable glass fully.
11.
Pack adhesive into the cartridge without air pockets to ensure continuous delivery. Put the cartridge in a caulking gun, and run a bead of sealant (B) around the edge of a new front glass (A) as shown. Apply the adhesive within 30 minutes after applying the glass primer. Make a slightly thicker bead at each corner

12.
Install the front glass (A).

13.
Install the wind deflector bar (A).

14.
Install the wind deflector mounting bracket (A).

15.
Install the roof moulding (A).
   
Roof moulding is need to changed to new product surely.

16.
Close the movable glass fully.
17.
Check the Clearance and gap for each side after installing the front glass (A).
Section
Clearance
Gap
Front edge
A-A
2±1 mm
7.5±1 mm
(0.0787±0.0394 in)
(0.2953±0.0394 in)
Rear edge
B-B
0±1 mm
4.5±1 mm
(0±0.0394 in)
(0.1772±0.0394 in)
Side edge
C-C
0±1 mm
0 mm
(0±0.0394 in)
(0 in)

18.
Scrape or wipe the excess adhesive off with a putty knife or towel. To remove adhesive from a painted surface or the windshield, wipe with a soft shop towel dampened with alcohol.
19.
Let the adhesive dry for at least one hour, then spray water over the roof and check for leaks. If a leak occurs, let it dry, then seal with sealant :
Let the vehicle stand for at least four hours after windshield installation. If the vehicle must be driven within 4 hours, it must be driven slowly.
Keep the windshield dry for the first hour after installation.
20.
Reinstall all remaining removed parts. Install the rearview mirror after the adhesive has dried thoroughly. Advise the customer not to do the following things for two the three days :
Slam the door with all the windows rolled up.
Twist the body excessively (such as when going in and out of driveways at an angle or driving over rough, uneven roads).
21.
Installation the following items
Roof antenna
(Refer to the BE group - "AVN Head Unit")
Rear glass
(Refer to the BD group - "Rear Window Glass")
Roof trim
(Refer to the BD group - "Roof Trim")
Interior trim
(Refer to the BD group - "Interior Trim")
Rear seat
(Refer to the BD group - "Rear Seat")
Front seat
(Refer to the BD group - "Front Seat")
Adjustment
Inspect Glass Alignment
1.
Check for abnormal noise or bending during operation.
2.
With the sunroof fully closed, check for water leakage.
3.
The roof panel (A) should be even with the movable glass (B) weatherstrip, to within the standard value "E" all the way around. If not, make the following adjustment.

Tightening torque :
Standard value "E" [mm(in.)]
(1) Front edge : 1.2 mm (0.0472 in.)
(2) Rear edge : 1.0 mm (0.0394 in.)

4.
If the position is not as specified, lightly loosen the glass adjusting screws (A) to adjust the glass height and tighten it.
   
Do not damage the screws.

How To Initialize Motor
Whenever the battery is disconnected, discharged or the related fuse is replaced or reinstalled, the panoramaroof system must be reset according to the procedure below.
1.
Turn the ignition key to the ON position and then close the panoramaroof completely.
2.
Turn the ignition key to the ON position and then close the panoramaroof completely.
3.
Press and hold the CLOSE button for more than 10 seconds until the sunroof has moved slightly.
4.
Release the panoramaroof control lever.
5.
Press and hold the CLOSE button once again until the sunroof do as follows.
Tilt → Slide Open → Slide Close
Then, release the lever.
6.
Reset procedure of panorama system is finished.
When To Initialize The Motor
1.
At the time of manufacture.
2.
If the Initial setting is erased due to loss of power.
3.
After using the manual handle.
Operating The Panoramaroof Emergency Handle
1.
Use the panoramaroof emergency handle to close and open the panoramaroof manually for the following case only.
To close the panoramaroof before driving a vehicle in arainy day or on the highway if the panoramaroof can not be closed due to failure of the panoramaroof motor or controller.
2.
Operating method.
Remove the roof trim.
Push the emergency handle up into the hexagonal drive of the panoramaroof motor. You must push hard enough to disengage the motor clutch; otherwise the emergency handle will slip due to incomplete fit in the motor.
Carefully turn the emergency handle clockwise to close the panoramaroof.
After closing the sunroof, wiggle the handle back and forth as you remove the tool from the motor, to ensure the motor clutch reengages.
A 5mm hex socket may be used in place of the emergency handle, with a” Speeder” type handle.
   
Do not use power tools to operate the panoramaroof.
Damaged to the components may occur.

    Components 1. Roof moulding2. Movable glass3. Wind deflector4. Folding cover assembly5. Front cover assembly6. Panoramaroof frame assembly7. Roller blind assembly8.

    Replacement Outside Rear View Mirror Replacement     • When prying with a flat-tip screwdriver, wrap it with protective tape, and apply protective tape around the related parts, to prevent damage.

    Other information:

    Kia Cadenza YG 2016-2021 Service Manual: Height Sensor Repair procedures

    Removal Height Sensor 1. Disconnect the negative (-) battery terminal. 2. Remove the height sensor linkage (A) installed on the front axle and rear axle. [Front] [Rear] Installation Height Sensor 1. Install the height sensor assembly after connecting the connector.

    Kia Cadenza YG 2016-2021 Service Manual: General Safety Information and Caution

    Instructions When Handling Refrigerant 1. R-134a liquid refrigerant is highly volatile. A drop on the skin of your hand could result in localized frostbite. When handling the refrigerant, be sure to wear gloves. 2. It is standard practice to wear goggles or glasses to protect your eyes, and gloves to protect your hands.

    Categories

     
    Copyright © 2026 www.kcadenzavg.com - 0.0234