Kia Cadenza YG: Air Conditioning System / Ambient Sensor Repair procedures

Inspection
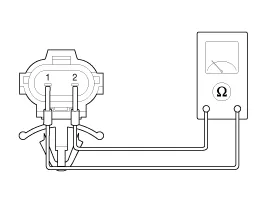
1.
Ignition "OFF"
2.
Disconnect ambient temperature sensor.
3.
Check the resistance of ambient temperature sensor between terminals 1 and 2 whether it is changed by changing of the ambient temperature.

1. Sensor Ground
2. Ambient Sensor Signal

Specification
Ambient temperature
[°C(°F)]
Resistance between terminals 1and 2 (kΩ)
-30(-22)
480.41
-20(-4)
271.21
-10(14)
158.18
0 (32)
95.10
10 (50)
58.80
20 (68)
37.32
30(86)
23.76
40(104)
16.13
50(122)
10.95

4.
If the measured resistance is not specification, substitute with a known-good ambient temperature sensor and check for proper operation.
5.
If the problem is corrected, replace the ambient temperature sensor.
Replacement
1.
Disconnect the negative (-) battery terminal.
2.
Remove the engine room front under cover (A) by loosening the mounting bolts.

3.
Disconnect the connector and then remove the ambient temperature sensor (A).

4.
Installation is the reverse order of removal.

    Description 1. The ambient temperature sensor is located at the front of the condenser and detects ambient air temperature. It is a negative type thermistor resistance will increase with lower temperature, and decrease with higher temperatures.

    Description Achieve exclusion function on croaker before fogging occurrence. Senses vehicles rational moisture and proves watch security and amenities.

    Other information:

    Kia Cadenza YG 2016-2021 Service Manual: Blind Spot Detection Radar Calibration Description and Operation

    Description To sense the cars exactly in the next lane with the radar, the direction of the sensor and the direction of the vehicle have to align. This is BSD unit alignment. If this alignment is not performed as below illustration, the degradation of detection performance and the cause of false alarms.

    Kia Cadenza YG 2016-2021 Service Manual: Intake Actuator Repair procedures

    Inspection 1. Ignition "OFF". 2. Disconnect the intake actuator connector. 3. Verify that the actuator operates to the recirculation position when connecting 12V to the terminal 3 and grounding terminal 7. 4. Verify that the intake actuator operates to the fresh position when connecting in the reverse.

    Categories

     
    Copyright © 2026 www.kcadenzavg.com - 0.0225