| Description |
| – |
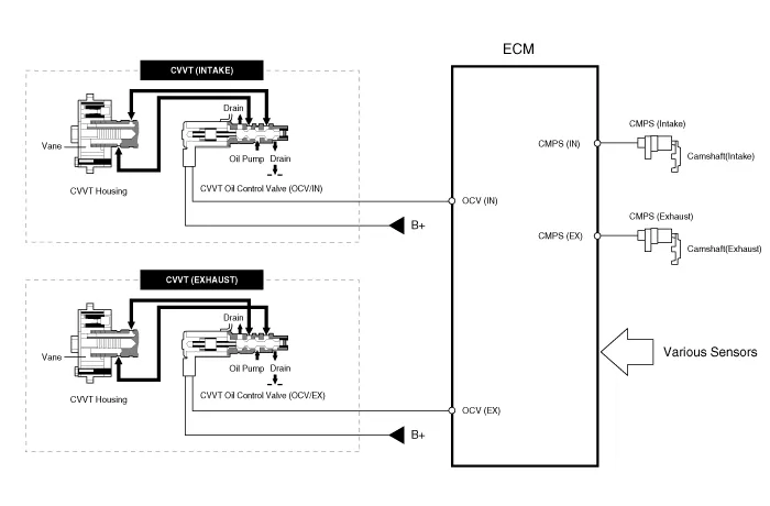
the CVVT Oil Control Valve (OCV) which supplies the engine
oil to the cam phaser or runs out the engine oil from the cam phaser in
accordance with the ECM PWM (Pulse With Modulation) control signal, |
| – |
the CVVT Oil Temperature Sensor (OTS) which measures the engine oil temperature, |
| – |
and the Cam Phaser which varies the cam phase by using the hydraulic force of the engine oil. |

| Operation Principle |

| [CVVT System Mode] |

| (1) Low Speed / Low Load | (2) Part Load |
|
|
| (3) Low Speed / High Load | (4) High Speed / High Load |
|
|
| Driving Condition | Exhaust Valve | Intake Valve | ||
| Valve Timing | Effect | Valve Timing | Effect | |
| (1) Low Speed /Low Load | Completely Advance | * Valve Under-lap * Improvement of combustion stability | Completely Retard | * Valve Under-lap * Improvement of combustion stability |
| (2) Part Load | Retard | * Increase of expansion work * Reduction of pumping loss * Reduction of HC | Retard | * Reduction of pumping loss |
| (3) Low Speed /High Load | Retard | * Increase of expansion work | Advance | * Prevention of intake back flow (Improvement of volumetric efficiency) |
| (4) High Speed /High Load | Advance | * Reduction of pumping loss | Retard | * Improvement of volumetric efficiency |
Components 1. RH exhaust camshaft2. RH intake camshaft3. LH intake camshaft4. LH exhaust camshaft 1. RH exhaust CVVT2. RH intake CVVT3. LH intake CVVT4.
Removal Continuous Variable Valve Timing (CVVT) 1. Remove the timing chain. (Refer to Timing System - "Timing Chain") 2. Remove the CVVT assembly.
Inspection Tolerance Calibration Tolerance calibration compensates for the error margins of surround view video that occur due to the installation tolerance when the four cameras that comprise the SVM system are installed. You must carry out tolerance calibration if you do any of the following.
Removal 1. Remove the trunk trim in the trunk after removing the screws and clips. (Refer to Body - "Trunk") 2. Remove the camera holder (A) as shown arrow direction, and then remove the back view camera (B). Installation 1. Install the back view camera and camera holder.